一、產品介紹:
空氣敲擊錘是歐頓公司研發中心結合國際先進技術研發的新型敲擊裝置,其特點是撞擊力大,結構簡單,使用方便.可有效解決粉體物料生產過程中的粘壁、掛料、堵塞、架橋等情況且對料倉無損傷和變形。沖擊力大,噪音小,多種型號可供選擇。沖擊力和動作時間可控制,安裝方便。可在防爆、多粉塵、潮濕等環境中使用。廣泛適用于化肥,化工,食品,醫療,農藥,玻璃,水泥等行業。
大部分的堵塞與粉粒體的特殊性質有關
粉粒體一般帶有流動性、偏析、分散性、附著以及凝固、磨耗、帶電等特殊性質。由于上述特殊性質,粉粒體容易附著于料倉壁,引起橋形堵塞、弓形堵塞鼠洞形堵塞、倉壁附著等現象。
二、產品熱點:
1、磁力沖擊力大,落粉效果好、運行成本低、節能效果好。
2、自動化敲擊解決粉物料因粘壁架橋引起的料倉堵塞,敲擊頻率、周期可調(需配ODKX系列自動控制箱)。
3、通過調節供氣氣壓大小來調整敲擊力度,此外,敲擊音的大小也可通過調整氣壓大小得到控制。在安裝工程中,由于型號選擇不妥出現能力過強或不足等誤差現象時,同樣也可以通過調整氣動敲擊器自身敲擊力度解決。
4、結構簡單,拆卸方便、維護方便,質量可靠,故障降低,十分環保。
5、產品通過100萬次敲擊次數試驗檢測。構造簡單基本無需保養,高設計水準的耐用性能及簡單的構造基本無需保養。在長年的銷售業績中由于產品故障少且無需保養而深受客戶好評。
6、整體采用高強度鋁合金熱化處理,外表高溫防腐考取處理,為您的設備添光彩。
三、型號定義:

備注︰
*歐頓公司第五代氣動敲擊錘產品獲多項專利產品,其配置高于同類產品,內部核心技術使得產品在同行業內無法超越,該產品在國內銷量領先。
*此次產品升級,同時注冊了新的產品型號ODC系列取代原來型號ZC和SK,安裝尺寸為更改請放心選擇,給您帶來不便敬請諒解。
四、工作原理:

五、產品選型及規格型號:
氣動敲擊錘的選定如圖所示,大致以60度的圓錐料斗作為基準,根據直徑(D)和圓錐部分的板厚(t),由圖來選定氣動敲擊錘的型號和臺數.例如設料斗直徑(D)是1500mm,板厚(t)是3mm,由圖可知選擇60型,臺數為2臺.并且有時因料斗的形狀(角錐,圓錐)及其中的粉體的物性,狀態等不同,略有差異。

注意∶料倉材質有差異,氣壓大小、儲存物料的特性(含水分、比重、粒徑)也會造成不同程度的堵塞,選型時要適當考慮。
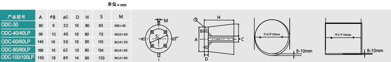
六、技術指標:

備注:LP為活塞加強型,可直接敲擊被安裝體,產生的沖擊力大于標準型號。
七、外形尺寸:
備注∶型號ODC為ZC/SK型號新編,完全可替代使用,加強型與標準型外形尺寸相同。 | ![]() |
八、安裝事項:

九、底座尺寸:

十、安裝與保養:
1、安裝部分需加加強板,并滿焊接牢固,否則沖擊力會使局部造成變形或破損;
2、為了防止脫落,請用鋼絲索將氣動敲擊錘吊掛在安全固定的地方,避免沖擊力使安裝螺母松動脫落,造成損失;
3、安裝氣錘本體與底座時需加裝彈簧墊和平墊,并定期進行螺母緊固力檢查;
4、氣動敲擊錘應使用潔凈空氣,避免造成設備運行故障;
5、安裝底座應加焊加強筋,增強底座的牢固性;
6、環境惡劣工況下使用,應每隔一個月左右定期打開氣錘內部配件進行清洗,安裝時加入適量的潤滑油
7、更多保養知識請仔細閱讀產品說明書。





聯系我們
在線留言
服務支持